1066vipÍþÄá˹

²úÆ·Óë¼Æ»®

1066vipÍþÄá˹(Öйú)ÓÐÏÞ¹«Ë¾-¹Ù·½ÍøÕ¾

       0010.png

1066vipÍþÄá˹(Öйú)ÓÐÏÞ¹«Ë¾-¹Ù·½ÍøÕ¾ Ó¦ÓÃÐÎò

   ÊÜÒæÓÚ´æÁ¿»ùÕ¾¸üл»´ú¡¢5G»ùÕ¾´ó¹æÄ£ÉÌÒµ»¯£¬£¬ÒÔ¼°´¢ÄÜϵͳÔÚ·¢µç²à¡¢µçÍø²à¡¢Óû§²àµÄ¿ìËÙÉÌÒµ»¯£¬£¬µçÁ¦´¢ÄÜϵͳÊг¡ÐèÇó´óÔö¡£¡£µçÁ¦´¢ÄÜϵͳͨ¹ýÒ»¶¨½éÖÊ´æ´¢µçÄÜ,ÔÚÐèҪʱ½«Ëù´æÄÜÁ¿ÊÍ·Å·¢µç£¬£¬×÷Ϊ¸ººÉƽºâ×°Öúͱ¸ÓõçÔ´Ìá¸ßµçÁ¦ÏµÍ³µÄÎȹÌÐÔ¡£¡£ï®µç³Ø×÷ΪһÖÖÐÔÄÜÓÅÒìµÄ´æ´¢½éÖÊ£¬£¬ÔÚµçÁ¦´¢ÄÜÊг¡ÔËÓÃÔ½À´Ô½ÆÕ±é¡£¡£×÷ΪµçÁ¦´¢ÄÜϵͳµÄÖ÷Òª×é³É²¿·Ö£¬£¬ï®µç³ØÔÚ¸ßÊÂÇéζÈÏ£¬£¬µç³ØÓÐ×ÔȼΣº¦ÇÒÊÙÃü»á½µµÍ£»£»£»ÔÚ»§ÍâÓ¦ÓÃÇéÐα°ÁÓ£¬£¬µç³Ø¸ºÔØÒì³£¶Ì·Σº¦Ôö¸ß£¬£¬Òò´Ëµç³Ø°üµÄÇå¾²ÐÔ£¬£¬¿É¿¿ÐÔµÈÔ½À´Ô½Êܵ½¹Ø×¢ºÍÖØÊÓ¡£¡£

  Õë¶ÔµçÁ¦´¢ÄÜÏµÍ³ï®µç³Ø°ü£¬£¬CRMICRO Ìṩ¸»ºñµÄÖеÍѹMOS²úÆ·£¬£¬¼«µÍµÄRDS(on£©²ÎÊý½µµÍµç³Øµ¼Í¨ÏûºÄ£¬£¬ÇÒÌá¸ßÕûÌåЧÂÊ£¬£¬´Ó¶ø½µµÍµç³ØÊÂÇéζȣ¬£¬Ìá¸ßµç³ØÊÙÃüºÍÇå¾²ÐÔ¡£¡£ÓÅÒìµÄEASºÍSOA²ÎÊý£¬£¬¸üºÃµÄ˳Ӧµç³Ø¸ºÔضÌ·Òì³£ÇéÐΣ¬£¬Ìá¸ßµç³Ø°üµÄ¿É¿¿ÐÔ¡£¡£

 

  ²úÆ·ÌØÉ«


1066vipÍþÄá˹(Öйú)ÓÐÏÞ¹«Ë¾-¹Ù·½ÍøÕ¾¼«µÍµÄRDS(on£©²ÎÊý 1066vipÍþÄá˹(Öйú)ÓÐÏÞ¹«Ë¾-¹Ù·½ÍøÕ¾ÓÅÒìµÄEASºÍSOA²ÎÊý


 

 

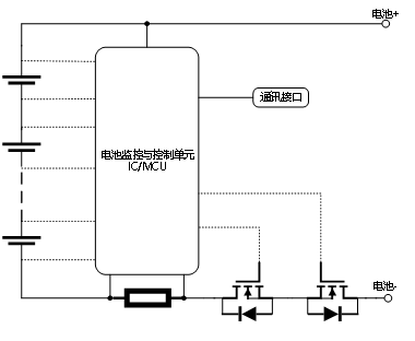
1066vipÍþÄá˹(Öйú)ÓÐÏÞ¹«Ë¾-¹Ù·½ÍøÕ¾Ó¦ÓÃÔ­Àíͼ

 

002.png;

 

 

 

  

1066vipÍþÄá˹(Öйú)ÓÐÏÞ¹«Ë¾-¹Ù·½ÍøÕ¾µä·¶Ó¦ÓÃÍØÆËͼ

 

003.png;      


 

1066vipÍþÄá˹(Öйú)ÓÐÏÞ¹«Ë¾-¹Ù·½ÍøÕ¾ Ó¦ÓÃÑ¡ÐÍÍÆ¼ö

004.png;

 

 

²úÆ·Áбí
µçÁ¦´¢ÄÜ
²úÆ·ÐͺвúÆ··â×° ²úÆ·ÖÖ±ð
-1 0 ¹²0Ò³ 0Ìõ¼Í¼ ÌøÖÁ£ºÒ³ È·¶¨
·µ»Øµ½Ê×Ò³ »Øµ½¶¥²¿
¡¾ÍøÕ¾µØÍ¼¡¿¡¾sitemap¡¿